Hyundai Elantra (CN7): Body Electrical System / General information

General Troubleshooting Information
Before Troubleshooting
1.
Check applicable fuses in the appropriate fuse/relay box.
2.
Check the battery for damage, state of charge, and clean and tight connections.
(Refer to Engine Electrical System - "Battery")
   
•
Do not quick-charge a battery unless the battery ground cable has been disconnected, otherwise you will damage the alternator diodes.
•
Do not attempt to crank the engine with the battery ground cable loosely connected or you will severely damage the wiring.
3.
Check the alternator belt tension.
Handling Connectors
1.
Make sure the connectors are clean and have no loose wire terminals.
2.
Make sure multiple cavity connectors are packed with grease (except watertight connectors).
3.
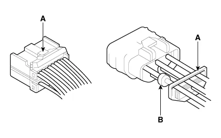
All connectors have push-down release type locks (A).

4.
Some connectors have a clip on their side used to attach them to a mount bracket on the body or on another component. This clip has a pull type lock.
5.
Some mounted connectors cannot be disconnected unless you first release the lock and remove the connector from its mount bracket (A).

6.
Never try to disconnect connectors by pulling on their wires; pull on the connector halves instead.
7.
Always reinstall plastic covers.

8.
Before connecting connectors, make sure the terminals (A) are in place and not bent.

9.
Check for loose retainer (A) and rubber seals (B).

10.
The backs of some connectors are packed with grease. Add grease if necessary. If the grease (A) is contaminated, replace it.

11.
Insert the connector all the way and make sure it is securely locked.
12.
Position wires so that the open end of the cover faces down.

Handling Wires and Harnesses
1.
Secure wires and wire harnesses to the frame with their respective wire ties at the designated locations.
2.
Remove clips carefully; don't damage their locks (A).

3.
Slip pliers (A) under the clip base and through the hole at an angle, and then squeeze the expansion tabs to release the clip.

4.
After installing harness clips, make sure the harness doesn't interfere with any moving parts.
5.
Keep wire harnesses away from exhaust pipes and other hot parts, from sharp edges of brackets and holes, and from exposed screws and bolts.
6.
Seat grommets in their grooves properly (A). Do not leave grommets distorted (B).

Testing and Repairs
1.
Do not use wires or harnesses with broken insulation.
Replace them or repair them by wrapping the break with electrical tape.
2.
After installing parts, make sure that no wires are pinched under them.
3.
When using electrical test equipment, follow the manufacturer's instructions and those described in this manual.
4.
If possible, insert the remover tool from the wire side (except waterproof connector).

5.
Use a remover tool with a tapered tip.

Refer to the user's guide in the wiring repair kit II (Pub. No. : 0K000 003 A05)
Five-step Troubleshooting
1.
Verify the complaint
Turn on all the components in the problem circuit to verify the customer complaint. Note the symptoms. Do not begin disassembly or testing until you have narrowed down the problem area.
2.
Analyze the schematic
Look up the schematic for the problem circuit.
Determine how the circuit is supposed to work by tracing the current paths from the power feed through the circuit components to ground. If several circuits fail at the same time, the fuse or ground is a likely cause.
Based on the symptoms and your understanding of the circuit operation, identify one or more possible causes of the problem.
3.
Isolate the problem by testing the circuit.
Make circuit tests to check the diagnosis you made in step 2. Keep in mind that a logical, simple procedure is the key to efficient troubleshooting.
Test for the most likely cause of failure first. Try to make tests at points that are easily accessible.
4.
Fix the problem
Once the specific problem is identified, make the repair. Be sure to use proper tools and safe procedures.
5.
Make sure the circuit works
Turn on all components in the repaired circuit in all modes to make sure you've fixed the entire problem. If the problem was a blown fuse, be sure to test all of the circuits on the fuse. Make sure no new problems turn up and the original problem does not recur.
Battery Reset
Description
When reconnecting the battery cable after disconnecting, recharging battery after discharged or installing the memory fuse located on the driver's side panel after removing, be sure to reset systems mentioned in the below table.
In addition, when replacing or reinstalling their fuses after removing, they should be reset according to the below table. Please refer to the below table when servicing.
System
Resetting
Power window
Whenever the window cannot be properly closed or opened. Whenever the battery is discharged or the related fuse is replaced or reinstalled, reset the power window system according to the procedure below.
1.
Turn the ignition switch to the ON position.
2.
Push up the power window switch until the window glass is entirely down and then push up continuously for about 1 sec.
Sunroof
Whenever the vehicle battery is disconnected or discharged, or you use the emergency handle to operate the sunroof, you have to reset your sunroof system as follows :
1.
Turn the ignition key to the ON position and then close the sunroof completely.
2.
Release the sunroof control lever.
3.
Press and hold the CLOSE button for more than 10 seconds until the sunroof closed and it has moved slightly.
4.
Release the sunroof control lever.
5.
Press and hold the CLOSE button once again within 3 seconds until the sunroof does as follows;
•
Tilt down → Slide Open → Slide Close
Then release the lever.
6.
Reset procedure of sunroof system is finished.
Trip computer
When the battery is disconnected and reconnected, the set functions of the trip computer become initialized. So, you need to explain this information to the customer.
Clock
When the battery is disconnected and reconnected, the clock becomes initialized. So, the clock should be reset. (Refer to the owner's manual)
Audio
When the battery is disconnected and reconnected, the customer's radio stations become initialized. So, you need to record the customer's radio stations prior to service, and after service, set the customer's radio stations into the audio.
Heater & Air
Conditioner
When the battery is disconnected and reconnected, the heater and A/Con become initialized.
So, heater and A/Con should be reset.

    Special Service Tools Tool (Number and Name) Illustration Application RKE Battery Checker(09954-2P100)Measuring the RKE battery voltage.

    Other information:

    Hyundai Elantra (CN7) 2021-2026 Service Manual: Repair procedures

    Refrigerant System Service Basics (R-134a)Refrigerant Recovery Use only service equipment that is U.L-listed and is certified to meet the requirements of SAE J2210 to remove HFC-134a(R-134a) from the air conditioning system.    â€¢ Air conditioning refrigerant or lubricant vapor can irritate your eyes, nose, or

    Hyundai Elantra (CN7) 2021-2026 Service Manual: Auto Defogging Sensor

    Description DescriptionThe auto defogging sensor is installed on the front window glass. The sensor judges and sends signal if moisture occurs to blow out wind for defogging. The air conditioner control module receives signal from the sensor and restrains moisture and eliminate defog by controlling the intake actuator, A/C, auto defogging actuat

    Categories

     
    Copyright © 2026 www.helantra7.com - 0.0164