| Tire Wear |
| 1. | Measure the tread depth of the tires.
|
| 2. | If the remaining tread depth (A) is less than the limit, replace the tire.
|
| Removal |
| 1. | Remove valve core and deflate the tire. |
| 2. | Remove the side of the tire bead area from the wheel using tire changing machine .
|
| 3. | Rotate the wheel clockwise.
|
| Installation |
| 1. | Apply tire soap or lubrication to the top and bottom tire beads.
|
| 2. | To fit the bottom bead, position the valve at the 5 o’clock position relative to the head on the tire changing machine.
|
| 3. | Place the tire on the rim so the bottom bead touches the edge of the rim after the valve (6 o’clock). Rotate the rim clockwise, and push down on the tire at the 3 o’clock position to fit bottom bead.
|
| 4. | Push down on the tire at the 3 o’clock position and rotate the rim clockwise to fit the top bead.
|
| 5. | Inflate the tire until beads seat.
|
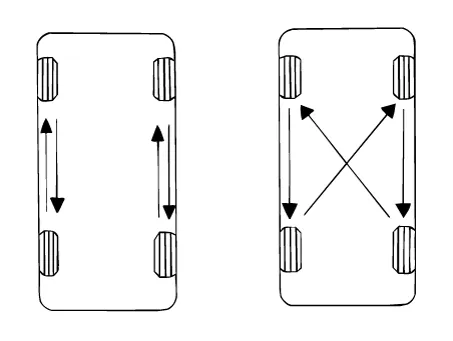
| Tire Rotation |

| 1. | Rotate the front right and front left tires, and perform a road test in order to confirm vehicle stability.
|
| 2. | If the steering pulls to the opposite side, rotate the front and rear tires, and perform a road test again.
|
| 3. | If the steering continues to pull to one side, rotate the front right and left tires again, and perform a road test.
|
| 4. | If the steering continues to pull to the opposite side, replace the front wheels with new ones.
|
Components and components location Components Steel wheel 15 inch (6.0J X 15) Aluminum wheel 15 inch (6.
Description and operation DescriptionIt's a system that uses illumination sensor to automatically turn ON the tail lamp and head lamp based on the change in surrounding environment's illumination condition. It activates when the vehicle enters/exits tunnel, or when the illumination condition in surrounding environment changes due to rain, snow, or
Description and OperationWireless Power Charger SystemDuring ACC or IG ON, battery voltage is supplied to the wireless power charger system to transmit an output of 5 W to mobile phone. Mobile phones certified with the wireless charging standard WPC (Qi 1.