Hyundai Elantra (CN7): Audio / Antenna

Repair procedures

Inspection
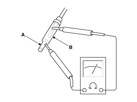
Glass Antenna Test
1.
Wrap aluminum foil (A) around the tip of the tester probe (B) as shown.

2.
Touch one tester probe to the glass antenna terminal (A) and move the other tester probe along the antenna wires to check that continuity exists.

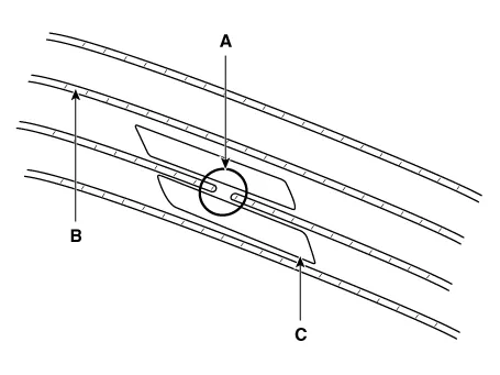
Glass Antenna Repair
   
•
To make an effective repair, the broken section must be no longer than one inch.
1.
Lightly rub the area around the broken section (A) with fine steel wool, and then clean it with alcohol.

2.
Carefully mask above and below the broken portion of the glass antenna wire (B) with cellophane tape (C).
3.
Using a small brush, apply a heavy coat of silver conductive paint (A) extending about 1/8″on both sides of the break. Allow 30 minutes to dry.
   
•
Thoroughly mix the paint before use.

4.
Check for continuity in the repaired wire.
5.
Apply a second coat of paint in the same way. Let it dry three hours before removing the tape.
Glass Antenna Circuit Inspection
1.
Remove the rear pillar trim.
(Refer to Body - "Rear Pillar Trim")
2.
Disconnect the antenna amp power connector from the glass antenna amp (A).

3.
Turn the radio ON.
Measure the voltage between terminals of the antenna amp power connector (A) and body ground (B).
OK : approximately 12V (ACC+)

4.
Check for radio antenna wire resistance between terminals of the antenna connector (A) and body ground (B).
(1)
AM antenna (RH side rear pillar)
Standard value : 125kΩ - 165kΩ
Short : Approx. 0Ω
Open : ∞ Ω

(2)
FM1/FM2 antenna (RH side rear pillar)
Standard value : 80kΩ - 120kΩ
Short : Approx. 0Ω
Open : ∞ Ω

5.
Check the grid lines for continuity.
6.
When a poor radio reception is not repaired through the above inspection methods, replace the amp.
If the radio reception is still poor, check the radio cable for short and radio head unit for failure.
Antenna Cable
1.
Check for continuity between the center poles of antenna cable.

2.
Check for continuity between the outer poles of antenna cable. There should be continuity.

3.
If there is no continuity, replace the antenna cable.
4.
Check for continuity between the center pole (A) of antenna cable and terminal of glass antenna (B). There should be continuity.

5.
If there is no continuity, replace the antenna amplifier.
6.
Check for continuity between the center pole (A) and outer pole (B) of antenna cable. There should be no continuity.

7.
If there is continuity, replace the antenna cable.

    Repair procedures Inspection1.Troubleshooting for Speaker(1)Basic inspection of speakerInspect the sound from speaker after verifying that the speaker mounting screws is removed and the wiring connector is connected precisely to remove vibration transmitted from body trims and surrounding parts.

    Components and components location Components1. Left Remote Control Switch (Audio + Bluetooth)2. Right Remote Control Switch (Cruise + Trip) Schematic diagrams Circuit Diagram[Without paddle shift][With paddle shift][Audio + B/Tooth][Audio + B/Tooth + Voice][Trip][Trip / Cruise][Trip + Cruise + LFA)[Trip + Cruise + LFA + MSLA)[Trip + Smart Cruise + LFA)[Trip + Smart Cruise + LFA + MSLA) Repair procedures Inspection1.

    Other information:

    Hyundai Elantra (CN7) 2021-2026 Service Manual: Description and operation

    DescriptionThe immobilizer system will disable the vehicle unless the proper ignition key is used, in addition to the currently available anti-theft systems such as car alarms, the immobilizer system aims to drastically reduce the rate of auto theft.1.

    Hyundai Elantra (CN7) 2021-2026 Service Manual: Auto Defoging Actuator

    Description and operation DescriptionThe auto defogging sensor is installed on front window glass. The sensor judges and sends signal if moisture occurs to blow out wind for defogging. The air conditioner control module receives a signal from the sensor and restrains moisture and eliminates defog by the intake actuator, A/C, auto defogging actua

    Categories

     
    Copyright © 2026 www.helantra7.com - 0.0153