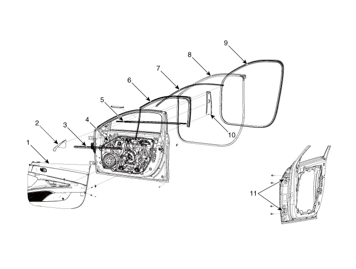
| Components |

| 1.Front door trim 2. Front door quadrant inner cover 3. Front door belt inside weatherstrip 4. Front door module 5. Front door belt outside weatherstrip | 6. Front door window glass run 7. Front door frame molding 8. Front door body side weatherstrip 9. Front door side weatherstrip 10. Front door frame garnish 11. Front door hinge |
AdjustmentGlass Adjustment • Check the glass run channel for damage or deterioration, and replace it if necessary.
DescriptionThe cruise control system is engaged by the cruise "ON/OFF" main switch located on right of steering wheel column. The system has the capability to cruise, coast, accelerate and resume speed.It also has a safety interrupt, engaged upon depressing brake or shifting select lever.
TroubleshootingDiagnosis with Diagnostic tool1.In the body electrical system, failure can be quickly diagnosed by using the vehicle diagnostic system (Diagnostic tool).The diagnostic system (Diagnostic tool) provides the following information.1)Fault Code Searching : Checking failure and code number (DTC)2)Data Analysis : Checking the system input/